;

It Can Groove, But Does It Jive?

  • Published July 1st, 2016


B.A. Liechty, Research and Development Engineer
R.C. Dillion, Engineering Technician

 

In August of 2015 progress towards making wire with microgrooves in the guidewire size range was summarized in A New Take on Wire Geometry – Functional Grooves. Now the focus has shifted to comparing the mechanical performance to that of solid round wire.

Five straightened 304V (ASTM A313) stainless steel wires were tested: three grooved (described by nominal OD and groove shape), and two round. Actual OD refers to each wire’s round diameter as measured on a bench micrometer, while the Equivalent OD refers to the round wire diameter that has an equivalent cross sectional area to that of each grooved wire.

 

Sample Identification

Sample Equivalent OD 
(in)
Approximate Groove Area
(%)

0.0134
Deep and narrow

0.01304 6

0.0137
Shallow and wide

0.01334 6

0.0134
Deep and wide

0.01270 11

0.012 
Round

N/A N/A

0.015
Round

N/A N/A

General Groove Proportions

cross-sections of grooved wire with three different depths and widths

Thus far, much of the grooved work has been focused on spring temper 304V. Tensile strengths higher than 325 ksi are achievable when the missing cross section due to the groove is accounted for.

 

Tensile Testing Results

    Computed using Actual OD Computed using Equivalent OD
Sample Elongation
(%)
Tensile Strength Yield Strength Modulus Tensile Strength Yield Strength Modulus

0.0134
Deep and narrow

2.2 310 ksi 271 ksi 26.6 Msi 327 ksi 286 ksi 28.2 Msi

0.0137
Shallow and wide

2.6 323 ksi 243 ksi 26.2 Msi 344 ksi 259 ksi 27.9 Msi

0.0134
Deep and wide

2.7 293 ksi 224 ksi 24.1 Msi 328 ksi 251 ksi 27.0 Msi

0.012 SLT

2.5 337 ksi 257 ksi 28.6 Msi      

0.015 SLT

2.6 299 ksi 229 ksi 27.7 Msi      

 

Rotary beam fatigue testing was performed in order to see if the grooves significantly impact fatigue life.  There was a large amount of overlap between the grooved and round wire results.

 

a chart

Fully reversed (R = -1) rotary beam fatigue @ 60Hz

 

The grooves necessarily spiral around the OD of the wire, so torsion testing was performed to see if the handedness of the groove (left hand helix vs. right hand helix) significantly impacts torque characteristics.

 

Torsion Testing Results

Sample Groove Pitch Test Direction Revolutions to Fracture Yield Strength Shear Strength Shear Modulus
0.0134
Deep and narrow
0.63 in

Clockwise

191 148 ksi 241 ksi 9.3

Counter Clockwise

210 121 ksi 240 ksi 8.8

0.0137
Shallow and wide

0.50 Clockwise 255 119 ksi 235 ksi 9.1

Counter Clockwise

217 124 ksi 227 ksi 9.0

0.0134
Deep and wide

0.47

Clockwise

249 120 ksi 240 ksi 7.9

Counter Clockwise

265 111 ksi 234 ksi 6.8

0.0012
Round

N/A

Clockwise

274 120 ksi 177 ksi 5.5

Counter Clockwise

327 133 ksi 208 ksi 6.2

0.015
Round

N/A

Clockwise

200 155 ksi 235 ksi 9.7

Counter Clockwise

233 151 ksi 232 ksi 9.8

 

Differences in bending stiffness were anticipated, depending on how the groove was oriented relative to the point of contact with the pin the wire was being bent around.

 

Bend Moment Testing Results

Sample Orientation Average Yield Load
(N*cm)
Average Ultimate Load
(N*cm)

0.0134
Deep and narrow

A

1.01 1.41

B

1.05 1.47

C

1.01 1.40

0.0137
Shallow and wide

A

1.10 1.56

B

1.16 1.63

C

1.07 1.53

0.0134
Deep and wide

A

0.89 1.25

B

0.98 1.41

C

0.88 1.23

0.012
Round

N/A 0.75 1.07

0.015
Round

N/A 1.45 2.06

 

All specimens achieved 30 bends without fracture; each result is the average of five (5) tests.  Each test was run using a 7 N•cm torque?type load cell with a 0.3 cm moment arm.  Each test specimen was subjected to 90° bends; if no fracture was detected, the test was terminated after 30 bends.  Each grooved sample was tested in three (3) orientations, such that the groove was oriented at the fulcrum as shown.

 

Bend Moment Testing Sample Orientation

a close up of a machine that tests the bending of wire

The yellow arrow indicates the bending direction, while the red arrows/letters indicate various groove orientations:

  • Orientation A - groove facing pin at point of contact
  • Orientation B - groove facing directly away from pin at point of contact
  • Orientation C - groove facing off to the side relative to the pin at point of contact

Finally, dynamic cast resistance (DCR) testing was ran to explore the groove’s impact on the wire’s resistance to taking a permanent set when bent over a known radius under tension.

DCR Testing Results

Sample Arc Height

Arc Height

0.0134
Deep and narrow

0.49 in 12.5 mm

0.0137
Shallow and wide

0.83 in 21.0 mm

0.0134
Deep and wide

0.94 in 24.0 mm

0.012
Round

0.48 in 12.1 mm

0.015
Round

1.05 in 26.7 mm

 

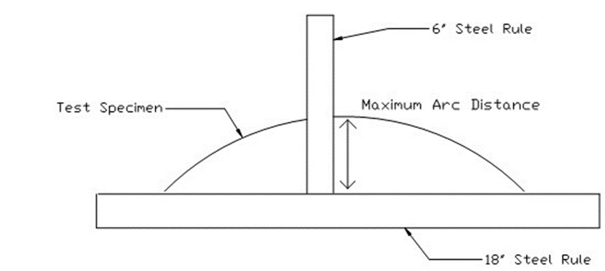
The basic DCR test method is as follows:

  1. Anchor one end of the wire.
  2. Pull the wire over a 1.38” pulley at a speed of 10”/min while a 12 ounce weight hangs from the free end of the wire.
  3. Remove the specimen from the test machine and remove the weight.
  4. With the specimen straightened, cut a 12” section from the area that has been run around the pulley.
  5. Measure the maximum height of the cast as shown below:

DCR Test Specimen Measurement

an illustration showing how wire bends in a machine

 

Ultimately, some mechanical performance is sacrificed by having the groove. However, the grooved samples all performed within a reasonable range that was bracketed out by the round wire test data. Future trials will try to optimize the mechanical properties and push strength levels towards 400 ksi. Stay tuned!

 

Click here to see previous highlights.

Disclaimer: Our monthly highlights are sneak peeks of what our R & D department is working on. This does not mean we have what is referenced above ready for manufacturing.

It Can Groove, But Does It Jive?

  • Published July 1st, 2016


B.A. Liechty, Research and Development Engineer
R.C. Dillion, Engineering Technician

 

In August of 2015 progress towards making wire with microgrooves in the guidewire size range was summarized in A New Take on Wire Geometry – Functional Grooves. Now the focus has shifted to comparing the mechanical performance to that of solid round wire.

Five straightened 304V (ASTM A313) stainless steel wires were tested: three grooved (described by nominal OD and groove shape), and two round. Actual OD refers to each wire’s round diameter as measured on a bench micrometer, while the Equivalent OD refers to the round wire diameter that has an equivalent cross sectional area to that of each grooved wire.

 

Sample Identification

Sample Equivalent OD 
(in)
Approximate Groove Area
(%)

0.0134
Deep and narrow

0.01304 6

0.0137
Shallow and wide

0.01334 6

0.0134
Deep and wide

0.01270 11

0.012 
Round

N/A N/A

0.015
Round

N/A N/A

General Groove Proportions

cross-sections of grooved wire with three different depths and widths

Thus far, much of the grooved work has been focused on spring temper 304V. Tensile strengths higher than 325 ksi are achievable when the missing cross section due to the groove is accounted for.

 

Tensile Testing Results

    Computed using Actual OD Computed using Equivalent OD
Sample Elongation
(%)
Tensile Strength Yield Strength Modulus Tensile Strength Yield Strength Modulus

0.0134
Deep and narrow

2.2 310 ksi 271 ksi 26.6 Msi 327 ksi 286 ksi 28.2 Msi

0.0137
Shallow and wide

2.6 323 ksi 243 ksi 26.2 Msi 344 ksi 259 ksi 27.9 Msi

0.0134
Deep and wide

2.7 293 ksi 224 ksi 24.1 Msi 328 ksi 251 ksi 27.0 Msi

0.012 SLT

2.5 337 ksi 257 ksi 28.6 Msi      

0.015 SLT

2.6 299 ksi 229 ksi 27.7 Msi      

 

Rotary beam fatigue testing was performed in order to see if the grooves significantly impact fatigue life.  There was a large amount of overlap between the grooved and round wire results.

 

a chart

Fully reversed (R = -1) rotary beam fatigue @ 60Hz

 

The grooves necessarily spiral around the OD of the wire, so torsion testing was performed to see if the handedness of the groove (left hand helix vs. right hand helix) significantly impacts torque characteristics.

 

Torsion Testing Results

Sample Groove Pitch Test Direction Revolutions to Fracture Yield Strength Shear Strength Shear Modulus
0.0134
Deep and narrow
0.63 in

Clockwise

191 148 ksi 241 ksi 9.3

Counter Clockwise

210 121 ksi 240 ksi 8.8

0.0137
Shallow and wide

0.50 Clockwise 255 119 ksi 235 ksi 9.1

Counter Clockwise

217 124 ksi 227 ksi 9.0

0.0134
Deep and wide

0.47

Clockwise

249 120 ksi 240 ksi 7.9

Counter Clockwise

265 111 ksi 234 ksi 6.8

0.0012
Round

N/A

Clockwise

274 120 ksi 177 ksi 5.5

Counter Clockwise

327 133 ksi 208 ksi 6.2

0.015
Round

N/A

Clockwise

200 155 ksi 235 ksi 9.7

Counter Clockwise

233 151 ksi 232 ksi 9.8

 

Differences in bending stiffness were anticipated, depending on how the groove was oriented relative to the point of contact with the pin the wire was being bent around.

 

Bend Moment Testing Results

Sample Orientation Average Yield Load
(N*cm)
Average Ultimate Load
(N*cm)

0.0134
Deep and narrow

A

1.01 1.41

B

1.05 1.47

C

1.01 1.40

0.0137
Shallow and wide

A

1.10 1.56

B

1.16 1.63

C

1.07 1.53

0.0134
Deep and wide

A

0.89 1.25

B

0.98 1.41

C

0.88 1.23

0.012
Round

N/A 0.75 1.07

0.015
Round

N/A 1.45 2.06

 

All specimens achieved 30 bends without fracture; each result is the average of five (5) tests.  Each test was run using a 7 N•cm torque?type load cell with a 0.3 cm moment arm.  Each test specimen was subjected to 90° bends; if no fracture was detected, the test was terminated after 30 bends.  Each grooved sample was tested in three (3) orientations, such that the groove was oriented at the fulcrum as shown.

 

Bend Moment Testing Sample Orientation

a close up of a machine that tests the bending of wire

The yellow arrow indicates the bending direction, while the red arrows/letters indicate various groove orientations:

  • Orientation A - groove facing pin at point of contact
  • Orientation B - groove facing directly away from pin at point of contact
  • Orientation C - groove facing off to the side relative to the pin at point of contact

Finally, dynamic cast resistance (DCR) testing was ran to explore the groove’s impact on the wire’s resistance to taking a permanent set when bent over a known radius under tension.

DCR Testing Results

Sample Arc Height

Arc Height

0.0134
Deep and narrow

0.49 in 12.5 mm

0.0137
Shallow and wide

0.83 in 21.0 mm

0.0134
Deep and wide

0.94 in 24.0 mm

0.012
Round

0.48 in 12.1 mm

0.015
Round

1.05 in 26.7 mm

 

The basic DCR test method is as follows:

  1. Anchor one end of the wire.
  2. Pull the wire over a 1.38” pulley at a speed of 10”/min while a 12 ounce weight hangs from the free end of the wire.
  3. Remove the specimen from the test machine and remove the weight.
  4. With the specimen straightened, cut a 12” section from the area that has been run around the pulley.
  5. Measure the maximum height of the cast as shown below:

DCR Test Specimen Measurement

an illustration showing how wire bends in a machine

 

Ultimately, some mechanical performance is sacrificed by having the groove. However, the grooved samples all performed within a reasonable range that was bracketed out by the round wire test data. Future trials will try to optimize the mechanical properties and push strength levels towards 400 ksi. Stay tuned!

 

Click here to see previous highlights.

Disclaimer: Our monthly highlights are sneak peeks of what our R & D department is working on. This does not mean we have what is referenced above ready for manufacturing.